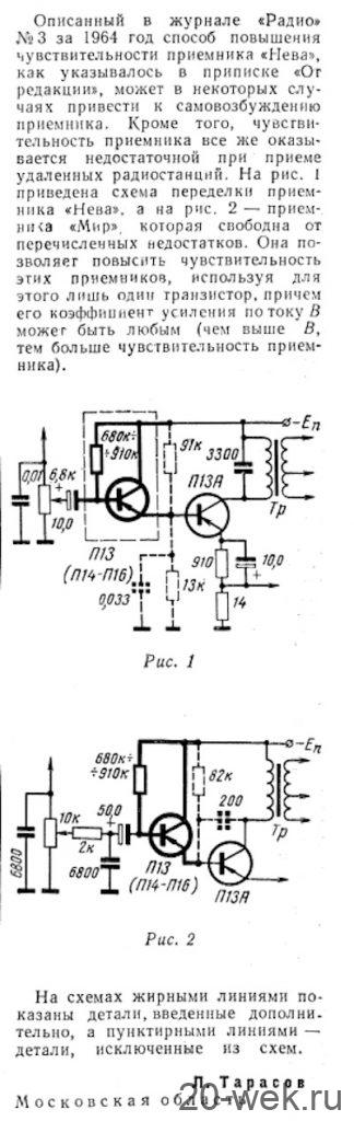
Карманные радиоприемники «Чайка» и «Нева», разработанные в ИРПА им. А. С. Попова, представляют собой супергетеродины, собранные на шести транзисторах и одном диоде. Принципиальная схема, изображенная на рис. 1 вкладки, у обоих приемников одинакова. Различие состоит во внешнем оформлении и конструкции. Радиоприемники предназначены для приема радиовещательных станций в диапазоне средних и длинных волн. Чувствительность при выходной мощности 5 мвт и отношении напряжения полезного сигнала к напряжению шумов порядка 20 дб на средних волнах около 2,5 мв/м, на длинных — 5.0 мв/м. Избирательность по соседнему каналу (при расстройке на 10 кгц) в среднем 14 дб. Ослабление сигнала по зеркальному каналу равно 16 дб на обоих диапазонах. Промежуточная частота — 465 кгц.Автоматическая регулировка усиления в приемнике работает таким образом, что при изменении напряжения сигнала на входе приемника на 25 дб, выходное напряжение меняется не более чем на 12 дб. Предел ручной регулировки громкости не менее 30 дб. Номинальная выходная мощность приемника 90 мвт при коэффициенте нелинейных искажений всего тракта не более 6%. Неравномерность частотной характеристики по звуковому давлению не превышает 18 дб в диапазоне от 400 до 2500 гц. Среднее звуковое давление громкоговорителя —1.0 бар. Потребляемый токв режиме «молчания» — 7,5 ма, в режиме номинальной выходной мощности около 30 ма. Питание приемника может осуществляться от сухой батареи, состоящей из семи окисно-ртутных элементов типа ОР-2к, а также от батареи аккумуляторов типа 7-Д-0,12. Напряжение источника питания — 9 в. Вес приемника не более 300 г. Описание и схема Радио №5/1961 ст.32 Радио №3/1964 ст.37 УСОВЕРШЕНСТВОВАНИЕ ПРИЕМНИКА „НЕВА" Радио №4/1964, ст.49 Предлагаемое усовершенствование приемника «Нева» позволяет значительно повысить его чувствительность и пользоваться им во время зарядки аккумуляторов от сети. В приемнике устанавливают гнездо для подключения внешней антенны и добавляют один подстроечный конденсатор емкостью 10—50 пф (рис. 1). Антенное гнездо изготавливают из латунной заклепки диаметром 3—4 мм у в которой сверлят отверстие диаметром 1,5—2 мм. Отверстие в корпусе приемника должно быть на 0,3—0,5 мм меньше наружного диаметра гнезда. В отверстие гнездо вставляют с помощью паяльника, нагретого до 150—200°С. После остывания гнездо оказывается жестко закрепленным в корпусе приемника. Контакт между гнездом и входом приемника осуществляется свернутой латунной пластинкой толщиной 0,2 MMy (рис. 2), которую укрепляют в свободном отверстии в плате переключателя диапазонов. Конденсатор располагают вдоль платы переключателя и подпаивают непосредственно к его клемме. Это усовершенствование позволило на наружную антенну (провод длиной 3—4 м) принимать в условиях Сибири и Казахстана на длинных волнах три-четыре станции, на средних — более 10 станций. Для того чтобы иметь возможность слушать передачи во время зарядки его аккумуляторов от сети можно применить П-образный фильтр, схема которого приведена на рис. 3. В схеме применены электролитические конденсаторы типа ЭМ емкостью 3,0 мкф на 60 в (два конденсатора включены параллельно). Фильтр собран в корпусе из органического стекла толщиной 2 мм (рис. 4). Такое устройство дает возможность использовать приемник в стационарных условиях, не разряжая аккумуляторы, что увеличивает их срок эксплуатации, а также позволяет слушать передачи относительно удаленных станций. Радио №8/1965, ст. 58